スキャンCI-10GL専用 炉内耐火材(バーミキュライト)キット

薪ストーブの炉内耐火材で暖房能力が上がりました。

スキャンCI-10GL専用 炉内耐火材 セット販売

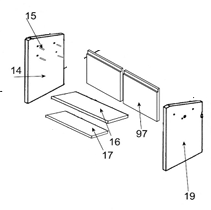
CI-10GLCB 図解表

パーツのお問合せは、 https://www.e-stove.net/contact.html からお願いします。

お気軽にお問い合わせください。

お問合せ先
 軽井沢暖炉 株式会社 上野商店
 電話:027-362-2251 / フリーダイヤル:0800-800-8216